
据新华社,澳大利亚政府13日告示,将从国内储备中开释高达7.62亿升的汽油和柴油,以缓解燃油供应链压力。澳大利亚征象变化与动力部长克里斯·鲍恩在当天发布的新闻公报中暗意,政府将通过开释汽油和柴油最低库存义务基准的20%,以应酬燃油供应链受到的冲击。鲍恩说,需求的大幅飙升导致澳大利亚很多地区出现燃油衰退情况。
举报 关连阅读
油价暴涨暴跌,多家航司机票、燃油附加费要加价跟着中东航路归附冉冉,中欧直飞航路一票难求,票价飞涨。
249 03-11 12:59
腹地分娩和加注提速,上海距离绿色燃油加注中心还有多远大家航运脱碳参加本色激动阶段,上海海外航运中心正濒临一轮由航运绿色转型所激发的能级重构。
7 356 02-07 20:30
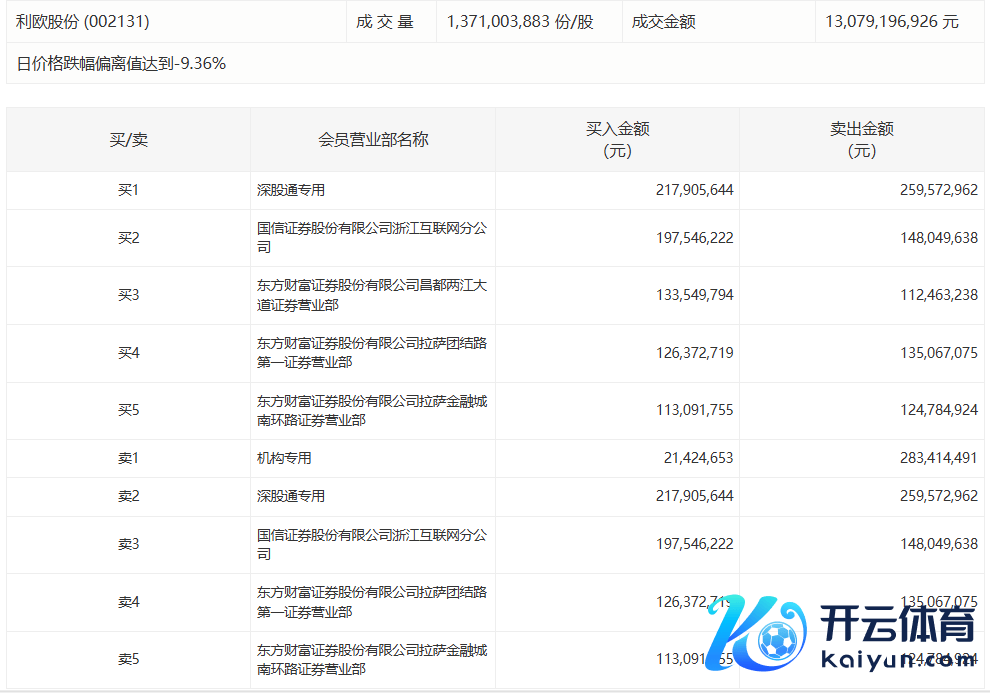
龙虎榜丨机构当天买入这17股,卖出利欧股份2.62亿元共40只个股出现了机构的身影。
166 02-04 18:06
利欧股份当天跌9.04%,有1家机构专用席位净卖出2.62亿元利欧股份当天跌9.04%,有1家机构专用席位净卖出2.62亿元
0 02-04 16:37
欧盟报复畏怯一个禁令!德国燃油车获取喘气契机“不管若何德方还有各式概念云开体育,让传统燃油车不绝守护一段时分。”
324 2025-12-23 21:13 一财最热 点击关闭